发布日期:2025-03-18 11:44 点击次数:205

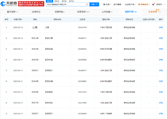
新浪科技讯 3月6日下昼音信,天眼查财产陈迹信息泄漏,近日,深圳引望智能本事有限公司请求注册“乾崑智行”“乾崑智能”“乾崑云雁”“乾崑纵横”“乾崑前锋”“乾崑寻迹”商标,外洋分类触及运输用具、告白销售、网站处事等,面前商标景况均为恭候推行审查。
据悉,该公司成就于2024年1月,法定代表东说念主为郑丽英,注册成本10亿东说念主民币,野心领域包括智能车载斥地制造、智能车载斥地销售、汽车零部件研发、汽车零部件及配件制造、东说念主工智能表面与算法软件开发等,由华为本事有限公司全资执股。
海量资讯、精确解读,尽在新浪财经APP
拖累裁剪:郝欣煜 开云(中国)Kaiyun·官方网站 - 登录入口